Lien direct
  • Conrad
  • Mon compte

    Me connecter / M'inscrire

  • Panier

  • Promotions Promotions
  • Secteurs Industriels
    Industrie
    Infrastructure
    Serwices professionalles
  • Univers Conrad
    Conrad - Your Sourcing Platform
    Promotions
    Nouveaux produits
    Guides & Conseils
    Devenez vendeur sur conrad

    Marques propres

    Toolcraft
    Voltcraft
    Tru components
    Renkforce
    Speaka professional
    Sygonix
  • Services

    Services sélectionnés pour vous

    Statut de commande
    PCB
    Newsletter
    Garantie
    Avantage Education
    Service client
  • Solutions achats
    eProcurement
    Demande de devis
    Commandes cadencees
    Commande directe
    Produit a la demande
    Business Plus
  • Nos produits
  • Mon compte
  • Liste d'achats
  • Se déconnecter
Conrad
Accueil
Électromécanique Relais Relais de contrôle de tension Relais de surveillance, grandeurs électriques

Relais de surcharge 1 NO (T), 1 NF (R) Siemens 3RB3143-4XX1 1 pc(s)

EAN :
Ref. fabricant :
Code produit :
Un appareil noir Siemens Sirius avec une façade bleue. Il dispose de deux boutons rotatifs, des connexions en bas et un logo d'entreprise en haut à gauche.
Un appareil noir Siemens Sirius avec une façade bleue. Il dispose de deux boutons rotatifs, des connexions en bas et un logo d'entreprise en haut à gauche.
Armoire électrique ouverte avec différents composants électroniques et câblages visibles clairement dans un boîtier vertical.
'Diagramme d'un relais de surcharge électrique avec accessoires : support pour installation individuelle, unité électronique, bouton-poussoir et éléments de réinitialisation.'
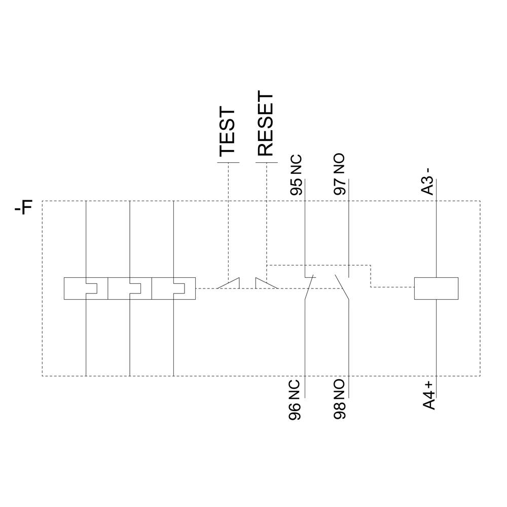
Diagramme d'un schéma de câblage avec les étiquettes : TEST, RESET, 95 NC, 96 NC, 97 NO, 98 NO, A3-, A4+. Le diagramme montre les relations entre les composants.
Dessin technique d'un appareil avec trois vues : vue de face, vue latérale, vue de dessus. Dimensions et détails du système de commande électronique.
1/5
Photo non contractuelle
Type de produit
Relais de surcharge
Type de contact
1 NO (T)
1 NF (R)
Type
3RB3143-4XX1
Dimensions
S3
Tension de fonctionnement
1000 V/AC
Fiche technique (PDF)
Siemens
Livraison avantle ven. 29 mai


Quantité (pièce(s))
Economie
prix de l'emballage (HT)
1
-
287,50 €
3
2% = 7,02 €
280,48 €
5
3% = 9,80 €
277,70 €
10
4% = 11,67 €
275,83 €
Les remises sur volume varient selon les vendeurs
Économiser 0,00 €

Nombre

Total (287,50 € / unité(s))
287,50 €
HT 
dont 0,06 €  d’éco-part
Signaler un incident juridique
  • 1 500 000 références

  • 2500 marques

  • 18 marques Conrad

  • Service après-vente

  • 4 modes de livraison

  • Service Client

  • Ma commande

  • Modes de paiement pour les professionnels

  • Modes de paiement pour les particuliers

  • Droits de rétraction & retours

  • FAQ

  • Modes de livraison

  • A propos de Conrad

  • Conrad Your Sourcing Platform

  • Nouveautés & Conseils

  • Eco-responsabilité

  • ISO-certification

  • Vulnerability Disclosure Program

  • Information REACH

  • Informations sur l'accessibilité

  • Services Conrad

  • Service devis

  • e-Procurement

  • Business Plus

  • Service calibration

  • Accès rapide

  • Marques de A à Z

  • Catégories de A-Z

  • Nos promotions 🛒

  • Download Center

  • Recrutement

Newsletter

Inscrivez-vous à la newsletter et recevez 10 % de réduction* sur votre prochaine commande, sans montant minimum d'achat.

Inscrivez-vous à la newsletter et recevez 10 % de réduction* sur votre prochaine commande, sans montant minimum d'achat.

Veuillez saisir une adresse e-mail valide !

Modes de paiement
Conrad sur les réseaux sociaux

Nous contacter

CONRAD ELECTRONIC

SERVICE CLIENT

ZONE COMMERCIALE
ENGLOS LES GEANTS
AVENUE DE LA BOUTILLERIE
59320 SEQUEDIN

Besoin d'aide ? Consultez notre FAQ

Les prix indiqués s'entendent HT (Hors Taxes)

Tous les prix indiqués s'entendent TTC (Toutes Taxes Comprises)

  • Protection des données

  • Méthodes de paiement sécurisées

  • Protocole SSL

  • Conditions générales de vente et d'utilisation

  • Mentions légales

  • Protection des données

  • Droit de rétractation

Comparaison des produits
Liste d'achats